Modelleisenbahn
Steuerung
AVR-Mikrocontroller
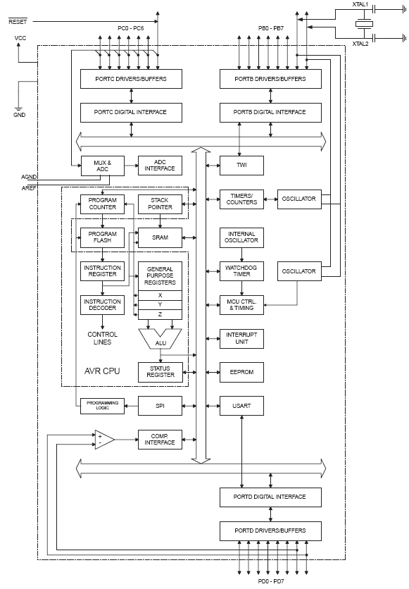
1.1. Blockschaltbild des ATmega8
Blockschaltbild des ATmega8
Start / Neuigkeiten
ATmega8
1. Übersicht
1.1. Blockschaltbild
1.2. Anschlussbelegung / Pins
2. Kern der AVR CPU
3. Speicher
4. Takt Einstellungen
5. Power Management und Sleep
6. Systemkontrolle und Reset
7. Interrupts
8. I/O Ports
Kapitel 9 - 16
Kapitel 17 - 24
Xmega384
AVR-Befehle
YouTube Kanal
Mein Buch
« zurück:
1. Übersicht ATmega8
» weiter:
1.2. Anschlussbelegung / Pins des ATmega8
Impressum